kafka服务端--KafkaController(二)--副本状态机/分区状态机
状态机一般用在事件处理中,并且事件会有多种状态。当事件发生变化时,会触发对应的事件处理动作。Kafka控制启动状态机时有下面特点:
1、分区状态机和副本状态机需要获取集群中所有分区和副本,因此需要先初始化上下文后,才能启动状态机。
2、分区包含了多个副本,只有当集群中所有的副本初始化好之后,才可以初始化分区状态机
一, ReplicaStateMachine
ReplicaStateMachine 记录着集群所有副本的状态信息,决定者副本处于什么样的状态,以及可以进行什么样的状态流转。
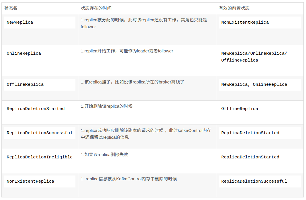
Kafka副本的状态可以有以下7种类型:
1、NewReplica:当分区重分配时,控制器可以创建一个新副本。这种状态下该副本只能作为follower,它可以是 Replica 删除后的一个临时状态,有效前置状态是 NonExistentReplica;
2、OnlineReplica:当副本被分配到指定的Partition上,并且副本完成创建,那么它将会被置为这个状态。在这个状态下,分区既可以作为Leader也可以作为Follower,有效前置状态是 NewReplica、OnlineReplica 或 OfflineReplica;
3、OfflineReplica:如果副本所在的Broker挂掉,副本将会置为这个状态。有效前置状态是 NewReplica、OfflineReplica 或 OnlineReplica;
4、ReplicaDeletionStarted:副本开始删除时被置为的状态,有效前置状态是 OfflineReplica;
5、ReplicaDeletionSuccessful:如果部分在删除时没有错误信息,它将被置为这个状态。表示该副本的数据已经从Broker清除了,有效前置状态是 ReplicaDeletionStarted;
6、ReplicaDeletionIneligible:如果副本删除失败,会转移到这个状态。表示非法删除,也就是删除不成功,有效前置状态是 ReplicaDeletionStarted;
7、NonExistentReplica:如果副本删除成功,将被转移到这个状态。有效前置状态是:ReplicaDeletionSuccessful。


ReplicaStateMachine初始化
副本状态机启动入口如下:
// Controller重新选举后触发
def startup() {
// 初始化ZK上所有的副本状态信息(副本存活设置为Online,不存活的设置为ReplicaDeletionIneligible)
initializeReplicaState()
val (onlineReplicas, offlineReplicas) = controllerContext.onlineAndOfflineReplicas
// 将存活的副本转化为OnlineReplica
handleStateChanges(onlineReplicas.toSeq, OnlineReplica)
// 将不存活的副本转化为OfflineReplica
handleStateChanges(offlineReplicas.toSeq, OfflineReplica)
}
上面的启动方法,首先会从ZK中恢复所有副本的状态。然后调用handleStateChanges(),将存活的副本转化为OnlineReplica状态。下面我们先看一下从ZK中恢复所有分区副本的状态:
/**
* 初始化所有分区副本的状态
*/
private def initializeReplicaState() {
// 循环所有分区
controllerContext.allPartitions.foreach { partition =>
val replicas = controllerContext.partitionReplicaAssignment(partition)
replicas.foreach { replicaId =>
val partitionAndReplica = PartitionAndReplica(partition, replicaId)
// 如果副本存活,将状态设置为OnlineReplica
if (controllerContext.isReplicaOnline(replicaId, partition)) {
controllerContext.putReplicaState(partitionAndReplica, OnlineReplica)
} else {
// 不存活的副本设置为ReplicaDeletionIneligible,
controllerContext.putReplicaState(partitionAndReplica, ReplicaDeletionIneligible)
}
}
}
}
后面紧跟着的就是处理副本状态处理,分别对OnlineReplica和OfflineReplica做上线和线下处理。
/**
* 副本状态机变化处理方法, 对多个副本的状态改变, 以批量请求的方式发送给多个Broker
*/
override def handleStateChanges(replicas: Seq[PartitionAndReplica], targetState: ReplicaState): Unit = {
if (replicas.nonEmpty) {
try {
controllerBrokerRequestBatch.newBatch()
// 处理状态请求
replicas.groupBy(_.replica).foreach { case (replicaId, replicas) =>
doHandleStateChanges(replicaId, replicas, targetState)
}
// 向Broker发送响应请求
controllerBrokerRequestBatch.sendRequestsToBrokers(controllerContext.epoch)
} catch {
case e: ControllerMovedException =>
error(s"Controller moved to another broker when moving some replicas to $targetState state", e)
throw e
case e: Throwable => error(s"Error while moving some replicas to $targetState state", e)
}
}
}
副本状态转换
状态转换为 NewReplica
case NewReplica =>
validReplicas.foreach { replica =>
val partition = replica.topicPartition
val currentState = controllerContext.replicaState(replica)
controllerContext.partitionLeadershipInfo.get(partition) match {
/** 从ZK获取分区的 leaderAndIsr 信息 */
case Some(leaderIsrAndControllerEpoch) =>
if (leaderIsrAndControllerEpoch.leaderAndIsr.leader == replicaId) {
/** NewReplica 状态的副本不能作为分区Leader */
val exception = new StateChangeFailedException(s"Replica $replicaId for partition $partition cannot be moved to NewReplica state as it is being requested to become leader")
logFailedStateChange(replica, currentState, OfflineReplica, exception)
} else {
/** 向replicaId的副本发送 LeaderAndIsr请求,并同时向所有Broker发送UpdateMetadata请求 */
controllerBrokerRequestBatch.addLeaderAndIsrRequestForBrokers(Seq(replicaId),
replica.topicPartition,
leaderIsrAndControllerEpoch,
controllerContext.partitionReplicaAssignment(replica.topicPartition),
isNew = true)
logSuccessfulTransition(replicaId, partition, currentState, NewReplica)
/** 修改ControllerContext中的副本状态 */
controllerContext.putReplicaState(replica, NewReplica)
}
case None =>
/** 如副本没有LeaderAndIsr信息,则等待分区Leader选举完成 */
logSuccessfulTransition(replicaId, partition, currentState, NewReplica)
controllerContext.putReplicaState(replica, NewReplica)
}
}
简述一下上面的流程如下:
1、校验副本的前置状态,只有处于 NonExistentReplica 状态的副本才能转移到 NewReplica 状态;
2、从ZK中获取该分区的 LeaderIsrAndControllerEpoch 信息;
3、如果获取不到上述信息,直接将该副本的状态设置为 NewReplica,然后结束流程(新建分区时,副本可能处于这个状态,该分区的所有副本是没有 LeaderAndIsr 信息的);
4、获取到分区的 LeaderIsrAndControllerEpoch 信息,如果发现该分区的 leader 是当前副本,那么就抛出 StateChangeFailedException 异常,因为处在这个状态的副本是不能被选举为 leader 的;
5、获取到了分区的 LeaderIsrAndControllerEpoch 信息,并且分区的 leader 不是当前副本,那么向该分区的所有副本添加一个 LeaderAndIsr 请求(添加 LeaderAndIsr 请求时,同时也会向所有的 Broker 都添加一个 UpdateMetadata 请求);
6、最后将该副本的状态转移成 NewReplica,然后结束流程。
状态转换为 OnlineReplica
OnlineReplica是副本正常工作时的状态,此时的副本既可以是 leader 也可以是 follower,转换到这种状态的处理实现如下:
case OnlineReplica =>
validReplicas.foreach { replica =>
val partition = replica.topicPartition
val currentState = controllerContext.replicaState(replica)
currentState match {
case NewReplica =>
/** NewReplica --> OnlineReplica */
val assignment = controllerContext.partitionReplicaAssignment(partition)
/** 如副本不在分区副本集合中,添加进集合(正常情况下不会出现) */
if (!assignment.contains(replicaId)) {
controllerContext.updatePartitionReplicaAssignment(partition, assignment :+ replicaId)
}
case _ =>
/** OnlineReplica | OfflineReplica --> OnlineReplica */
controllerContext.partitionLeadershipInfo.get(partition) match {
case Some(leaderIsrAndControllerEpoch) =>
/** 如果该副本的 LeaderIsrAndControllerEpoch 信息存在,那么就更新副本的状态,并发送相应的请求 */
controllerBrokerRequestBatch.addLeaderAndIsrRequestForBrokers(Seq(replicaId),
replica.topicPartition,
leaderIsrAndControllerEpoch,
controllerContext.partitionReplicaAssignment(partition), isNew = false)
case None =>
/** 表示分区不是OnlinePartition状态,也就是Broker没有为分区启动log,并且没有分区高水位的值 */
}
}
logSuccessfulTransition(replicaId, partition, currentState, OnlineReplica)
controllerContext.putReplicaState(replica, OnlineReplica)
}
从前面的状态转换可以看出,当副本处在 NewReplica、OnlineReplica、OfflineReplica 状态时,是可以转移到 OnlineReplica 状态的。代码中的实现可以分为如下2种情况:
A、NewReplica –> OnlineReplica
1) 从上下文中的 partitionReplicaAssignment 中获取分区的副本列表;
2) 如果副本不在列表中,那么将其添加到分区副本列表中;
3) 将副本的状态变更为 OnlineReplica 状态。
B、OnlineReplica | OfflineReplica –> OnlineReplica
1) 从上下文中的 partitionLeadershipInfo 获取分区的 LeaderAndIsr 信息;
2) 如果该信息存在,那么就向这个副本所在的 broker 添加这个分区的 LeaderAndIsr 请求,并将副本的状态设置为 OnlineReplica;
3) 如果信息不存在,不做任何处理;
4) 更新副本的状态为 OnlineReplica。
状态转换为 OfflineReplica
case OfflineReplica =>
validReplicas.foreach { replica =>
/** 发送 StopReplica 请求给该副本,先停止副本同步 */
controllerBrokerRequestBatch.addStopReplicaRequestForBrokers(Seq(replicaId), replica.topicPartition, deletePartition = false)
}
/** 将副本列表拆分为:有LeadershipInfo和无LeadershipInfo两部分 */
val (replicasWithLeadershipInfo, replicasWithoutLeadershipInfo) = validReplicas.partition { replica =>
controllerContext.partitionLeadershipInfo.contains(replica.topicPartition)
}
/** 有LeadershipInfo的,控制器将副本从ISR中移除 */
val updatedLeaderIsrAndControllerEpochs = removeReplicasFromIsr(replicaId, replicasWithLeadershipInfo.map(_.topicPartition))
updatedLeaderIsrAndControllerEpochs.foreach { case (partition, leaderIsrAndControllerEpoch) =>
if (!controllerContext.isTopicQueuedUpForDeletion(partition.topic)) {
val recipients = controllerContext.partitionReplicaAssignment(partition).filterNot(_ == replicaId)
/** 向该分区其他副本发送 LeaderAndIsr 请求 */
controllerBrokerRequestBatch.addLeaderAndIsrRequestForBrokers(recipients,
partition,
leaderIsrAndControllerEpoch,
controllerContext.partitionReplicaAssignment(partition), isNew = false)
}
val replica = PartitionAndReplica(partition, replicaId)
val currentState = controllerContext.replicaState(replica)
logSuccessfulTransition(replicaId, partition, currentState, OfflineReplica)
controllerContext.putReplicaState(replica, OfflineReplica)
}
/** 无LeadershipInfo的,向所有存活Broker发送 UpdateMetadata请求 */
replicasWithoutLeadershipInfo.foreach { replica =>
val currentState = controllerContext.replicaState(replica)
logSuccessfulTransition(replicaId, replica.topicPartition, currentState, OfflineReplica)
controllerBrokerRequestBatch.addUpdateMetadataRequestForBrokers(controllerContext.liveOrShuttingDownBrokerIds.toSeq, Set(replica.topicPartition))
controllerContext.putReplicaState(replica, OfflineReplica)
}
1) 校验前置状态,只有副本在 NewReplica、OnlineReplica、OfflineReplica 状态时,才可以转换到这种状态;
2) 向该副本所在Broker发送 StopReplica 请求(deletePartition = false);
3) 将副本列表拆分为:有LeadershipInfo和无LeadershipInfo两部分
4) 有LeadershipInfo的,调用 removeReplicaFromIsr(),将该副本从分区的 isr 移除。然后向该分区其他副本发送 LeaderAndIsr 请求;
5) 无LeadershipInfo的,向所有存活Broker发送 UpdateMetadata请求
6) 更新副本的状态为 OfflineReplica。
状态转换为 ReplicaDeletionStarted
case ReplicaDeletionStarted =>
validReplicas.foreach { replica =>
val currentState = controllerContext.replicaState(replica)
logSuccessfulTransition(replicaId, replica.topicPartition, currentState, ReplicaDeletionStarted)
controllerContext.putReplicaState(replica, ReplicaDeletionStarted)
/** 发送 StopReplica 请求给该副本,并设置 deletePartition=true */
controllerBrokerRequestBatch.addStopReplicaRequestForBrokers(Seq(replicaId), replica.topicPartition, deletePartition = true)
}
该状态是副本删除过程的开始状态,简述一下上面的逻辑:
1)校验前置状态,副本前置状态只能是 OfflineReplica;
2)更新该副本的状态为 ReplicaDeletionStarted;
3)向该副本发送 StopReplica 请求(deletePartition = true),收到这请求后,broker 会从物理存储上删除这个副本的数据内容;
状态转换为 ReplicaDeletionIneligible
case ReplicaDeletionIneligible =>
validReplicas.foreach { replica =>
val currentState = controllerContext.replicaState(replica)
logSuccessfulTransition(replicaId, replica.topicPartition, currentState, ReplicaDeletionIneligible)
controllerContext.putReplicaState(replica, ReplicaDeletionIneligible)
}
该状态是副本删除失败的状态,简述一下上面的逻辑:
1)校验前置状态,副本的前置状态只能是 ReplicaDeletionStarted;
2)更新该副本的状态为 ReplicaDeletionIneligible。
状态转换为 ReplicaDeletionSuccessful
case ReplicaDeletionSuccessful =>
validReplicas.foreach { replica =>
val currentState = controllerContext.replicaState(replica)
logSuccessfulTransition(replicaId, replica.topicPartition, currentState, ReplicaDeletionSuccessful)
controllerContext.putReplicaState(replica, ReplicaDeletionSuccessful)
}
该状态是副本删除成功的状态,简述一下上面的逻辑:
1)检验前置状态,副本的前置状态只能是 ReplicaDeletionStarted;
2)更新该副本的状态为 ReplicaDeletionSuccessful。
状态转换为 ReplicaDeletionIneligible
case NonExistentReplica =>
validReplicas.foreach { replica =>
val currentState = controllerContext.replicaState(replica)
val currentAssignedReplicas = controllerContext.partitionReplicaAssignment(replica.topicPartition)
// 从控制器上下文和副本状态机中清除这个副本的信息
controllerContext.updatePartitionReplicaAssignment(replica.topicPartition, currentAssignedReplicas.filterNot(_ == replica.replica))
logSuccessfulTransition(replicaId, replica.topicPartition, currentState, NonExistentReplica)
controllerContext.removeReplicaState(replica)
}
该状态是副本已经被完全删除,不存在的状态,简述一下上面的逻辑:
1)检验前置状态,副本的前置状态只能是 ReplicaDeletionSuccessful;
2)在控制器的 partitionReplicaAssignment 删除分区对应的副本信息;
3)从控制器上下文和副本状态机中将这个副本删除。
二, PartitionStateMachine
它实现了topic的分区状态切换功能,Partition存在的状态如下:

Partition状态切换的过程如下:

因此重点关注PartitionStateMachine的handleStateChange函数
private def handleStateChange(topic: String, partition: Int, targetState: PartitionState,
leaderSelector: PartitionLeaderSelector,
callbacks: Callbacks) {
val topicAndPartition = TopicAndPartition(topic, partition)
if (!hasStarted.get)
throw new StateChangeFailedException(("Controller %d epoch %d initiated state change for partition %s to %s failed because " +
"the partition state machine has not started")
.format(controllerId, controller.epoch, topicAndPartition, targetState))
val currState = partitionState.getOrElseUpdate(topicAndPartition, NonExistentPartition)
try {
targetState match {
case NewPartition =>
//检查前置状态
assertValidPreviousStates(topicAndPartition, List(NonExistentPartition), NewPartition)
//更新controllerContext中的partitionReplicaAssignment
assignReplicasToPartitions(topic, partition)
//修改partition的状态
partitionState.put(topicAndPartition, NewPartition)
val assignedReplicas = controllerContext.partitionReplicaAssignment(topicAndPartition).mkString(",")
stateChangeLogger.trace("Controller %d epoch %d changed partition %s state from %s to %s with assigned replicas %s"
.format(controllerId, controller.epoch, topicAndPartition, currState, targetState,
assignedReplicas))
case OnlinePartition =>
//检查前置状态
assertValidPreviousStates(topicAndPartition, List(NewPartition, OnlinePartition, OfflinePartition), OnlinePartition)
partitionState(topicAndPartition) match {
case NewPartition =>// NewPartition-> OnlinePartition
/* 1.根据partitionReplicaAssignment中信息选择第一个live的replica为leader,其余为isr
*2.将leader和isr持久化到zk
*3.更新controllerContext中的partitionLeadershipInfo
*4.封装发送给这些replica所在的broker的LeaderAndIsrRequest请求,交由ControllerBrokerRequestBatch处理
*/
initializeLeaderAndIsrForPartition(topicAndPartition)
case OfflinePartition =>// OfflinePartition-> OnlinePartition
/* 1.根据不同的leaderSelector选举新的leader,这里一般调用的是OfflinePartitionLeaderSelector
*2.将leader和isr持久化到zk
*3.更新controllerContext中的partitionLeadershipInfo
*4.封装发送给这些replica所在的broker的LeaderAndIsrRequest请求,交由ControllerBrokerRequestBatch处理
*/
electLeaderForPartition(topic, partition, leaderSelector)
case OnlinePartition =>// OnlinePartition -> OnlinePartition
/* 1.根据不同的leaderSelector选举新的leader,这里一般调用的是ReassignedPartitionLeaderSelector
*2.将leader和isr持久化到zk
*3.更新controllerContext中的partitionLeadershipInfo
*4.封装发送给这些replica所在的broker的LeaderAndIsrRequest请求,交由ControllerBrokerRequestBatch处理
*/
electLeaderForPartition(topic, partition, leaderSelector)
case _ => // should never come here since illegal previous states are checked above
}
//更新partition的状态
partitionState.put(topicAndPartition, OnlinePartition)
val leader = controllerContext.partitionLeadershipInfo(topicAndPartition).leaderAndIsr.leader
stateChangeLogger.trace("Controller %d epoch %d changed partition %s from %s to %s with leader %d"
.format(controllerId, controller.epoch, topicAndPartition, currState, targetState, leader))
case OfflinePartition =>
//检查前置状态
assertValidPreviousStates(topicAndPartition, List(NewPartition, OnlinePartition, OfflinePartition), OfflinePartition)
stateChangeLogger.trace("Controller %d epoch %d changed partition %s state from %s to %s"
.format(controllerId, controller.epoch, topicAndPartition, currState, targetState))
//更新partition的状态
partitionState.put(topicAndPartition, OfflinePartition)
case NonExistentPartition =>
//检查前置状态
assertValidPreviousStates(topicAndPartition, List(OfflinePartition), NonExistentPartition)
stateChangeLogger.trace("Controller %d epoch %d changed partition %s state from %s to %s"
.format(controllerId, controller.epoch, topicAndPartition, currState, targetState))
//更新partition的状态
partitionState.put(topicAndPartition, NonExistentPartition)
// post: partition state is deleted from all brokers and zookeeper
}
} catch {
case t: Throwable =>
stateChangeLogger.error("Controller %d epoch %d initiated state change for partition %s from %s to %s failed"
.format(controllerId, controller.epoch, topicAndPartition, currState, targetState), t)
}
}
KafkaController PartitionLeaderSelector
当partition的状态发生切换时,特别发生如下切换:OfflinePartition-> OnlinePartition和OnlinePartition -> OnlinePartition时需要调用不同的PartitionLeaderSelector来确定leader和isr,当前一共支持5种PartitionLeaderSelector,分别为:NoOpLeaderSelector,OfflinePartitionLeaderSelector,ReassignedPartitionLeaderSelector,PreferredReplicaPartitionLeaderSelector,ControlledShutdownLeaderSelector
1. NoOpLeaderSelector
/**
* Essentially does nothing. Returns the current leader and ISR, and the current
* set of replicas assigned to a given topic/partition.
*/
class NoOpLeaderSelector(controllerContext: ControllerContext) extends PartitionLeaderSelector with Logging {
this.logIdent = "[NoOpLeaderSelector]: "
def selectLeader(topicAndPartition: TopicAndPartition, currentLeaderAndIsr: LeaderAndIsr): (LeaderAndIsr, Seq[Int]) = {
warn("I should never have been asked to perform leader election, returning the current LeaderAndIsr and replica assignment.")
(currentLeaderAndIsr, controllerContext.partitionReplicaAssignment(topicAndPartition))
}
}
基本上啥也没做,就是把currentLeaderAndIsr和set of replicas assigned to a given topic/partition
2. OfflinePartitionLeaderSelector
class OfflinePartitionLeaderSelector(controllerContext: ControllerContext, config: KafkaConfig)
extends PartitionLeaderSelector with Logging {
this.logIdent = "[OfflinePartitionLeaderSelector]: "
def selectLeader(topicAndPartition: TopicAndPartition, currentLeaderAndIsr: LeaderAndIsr): (LeaderAndIsr, Seq[Int]) = {
controllerContext.partitionReplicaAssignment.get(topicAndPartition) match {
case Some(assignedReplicas) =>
val liveAssignedReplicas = assignedReplicas.filter(r => controllerContext.liveBrokerIds.contains(r))
val liveBrokersInIsr = currentLeaderAndIsr.isr.filter(r => controllerContext.liveBrokerIds.contains(r))
val currentLeaderEpoch = currentLeaderAndIsr.leaderEpoch
val currentLeaderIsrZkPathVersion = currentLeaderAndIsr.zkVersion
val newLeaderAndIsr = liveBrokersInIsr.isEmpty match {
case true =>//isr中的broker都离线了,则需要从asr中选择leader
if (!LogConfig.fromProps(config.props.props, AdminUtils.fetchTopicConfig(controllerContext.zkClient,
topicAndPartition.topic)).uncleanLeaderElectionEnable) {
throw new NoReplicaOnlineException(("No broker in ISR for partition " +
"%s is alive. Live brokers are: [%s],".format(topicAndPartition, controllerContext.liveBrokerIds)) +
" ISR brokers are: [%s]".format(currentLeaderAndIsr.isr.mkString(",")))
}
debug("No broker in ISR is alive for %s. Pick the leader from the alive assigned replicas: %s"
.format(topicAndPartition, liveAssignedReplicas.mkString(",")))
liveAssignedReplicas.isEmpty match {
case true =>//如果asr中的broker也都已经离线了,则这个topic/partition挂了
throw new NoReplicaOnlineException(("No replica for partition " +
"%s is alive. Live brokers are: [%s],".format(topicAndPartition, controllerContext.liveBrokerIds)) +
" Assigned replicas are: [%s]".format(assignedReplicas))
case false =>//如果asr中的broker有一些是在线的
ControllerStats.uncleanLeaderElectionRate.mark()
val newLeader = liveAssignedReplicas.head//取第一个为leader
warn("No broker in ISR is alive for %s. Elect leader %d from live brokers %s. There's potential data loss."
.format(topicAndPartition, newLeader, liveAssignedReplicas.mkString(",")))
new LeaderAndIsr(newLeader, currentLeaderEpoch + 1, List(newLeader), currentLeaderIsrZkPathVersion + 1)
}
case false =>//isr中的broker有一些是在线的
val liveReplicasInIsr = liveAssignedReplicas.filter(r => liveBrokersInIsr.contains(r))
val newLeader = liveReplicasInIsr.head//选择第一个live的replica
debug("Some broker in ISR is alive for %s. Select %d from ISR %s to be the leader."
.format(topicAndPartition, newLeader, liveBrokersInIsr.mkString(",")))
new LeaderAndIsr(newLeader, currentLeaderEpoch + 1, liveBrokersInIsr.toList, currentLeaderIsrZkPathVersion + 1)
}
info("Selected new leader and ISR %s for offline partition %s".format(newLeaderAndIsr.toString(), topicAndPartition))
(newLeaderAndIsr, liveAssignedReplicas)
case None =>
throw new NoReplicaOnlineException("Partition %s doesn't have replicas assigned to it".format(topicAndPartition))
}
}
}
3. ReassignedPartitionLeaderSelector
class ReassignedPartitionLeaderSelector(controllerContext: ControllerContext) extends PartitionLeaderSelector with Logging {
this.logIdent = "[ReassignedPartitionLeaderSelector]: "
def selectLeader(topicAndPartition: TopicAndPartition, currentLeaderAndIsr: LeaderAndIsr): (LeaderAndIsr, Seq[Int]) = {
//patition被重新分配的replicas
val reassignedInSyncReplicas = controllerContext.partitionsBeingReassigned(topicAndPartition).newReplicas
val currentLeaderEpoch = currentLeaderAndIsr.leaderEpoch
val currentLeaderIsrZkPathVersion = currentLeaderAndIsr.zkVersion
//在reassignedInSyncReplicas中筛选replica其所在的broker是live的和当前的replica是位于isr中的
val aliveReassignedInSyncReplicas = reassignedInSyncReplicas.filter(r => controllerContext.liveBrokerIds.contains(r) &&
currentLeaderAndIsr.isr.contains(r))
val newLeaderOpt = aliveReassignedInSyncReplicas.headOption
newLeaderOpt match {//存在满足以上条件的replica,则筛选为leader
case Some(newLeader) => (new LeaderAndIsr(newLeader, currentLeaderEpoch + 1, currentLeaderAndIsr.isr,
currentLeaderIsrZkPathVersion + 1), reassignedInSyncReplicas)
case None =>//否则reassigned失败
reassignedInSyncReplicas.size match {
case 0 =>
throw new NoReplicaOnlineException("List of reassigned replicas for partition " +
" %s is empty. Current leader and ISR: [%s]".format(topicAndPartition, currentLeaderAndIsr))
case _ =>
throw new NoReplicaOnlineException("None of the reassigned replicas for partition " +
"%s are in-sync with the leader. Current leader and ISR: [%s]".format(topicAndPartition, currentLeaderAndIsr))
}
}
}
}
4. PreferredReplicaPartitionLeaderSelector
class PreferredReplicaPartitionLeaderSelector(controllerContext: ControllerContext) extends PartitionLeaderSelector
with Logging {
this.logIdent = "[PreferredReplicaPartitionLeaderSelector]: "
def selectLeader(topicAndPartition: TopicAndPartition, currentLeaderAndIsr: LeaderAndIsr): (LeaderAndIsr, Seq[Int]) = {
val assignedReplicas = controllerContext.partitionReplicaAssignment(topicAndPartition)
//默认选举第一个replica作为leader
val preferredReplica = assignedReplicas.head
// check if preferred replica is the current leader
val currentLeader = controllerContext.partitionLeadershipInfo(topicAndPartition).leaderAndIsr.leader
if (currentLeader == preferredReplica) {//如果已经实现,则退出
throw new LeaderElectionNotNeededException("Preferred replica %d is already the current leader for partition %s"
.format(preferredReplica, topicAndPartition))
} else {
info("Current leader %d for partition %s is not the preferred replica.".format(currentLeader, topicAndPartition) +
" Trigerring preferred replica leader election")
// 检查这个replica是否位于isr和其所在的broker是否live,如果是的话,则其恢复成leader,此场景主要用于负载均衡的情况
if (controllerContext.liveBrokerIds.contains(preferredReplica) && currentLeaderAndIsr.isr.contains(preferredReplica)) {
(new LeaderAndIsr(preferredReplica, currentLeaderAndIsr.leaderEpoch + 1, currentLeaderAndIsr.isr,
currentLeaderAndIsr.zkVersion + 1), assignedReplicas)
} else {
throw new StateChangeFailedException("Preferred replica %d for partition ".format(preferredReplica) +
"%s is either not alive or not in the isr. Current leader and ISR: [%s]".format(topicAndPartition, currentLeaderAndIsr))
}
}
}
}
5. ControlledShutdownLeaderSelector
class ControlledShutdownLeaderSelector(controllerContext: ControllerContext)
extends PartitionLeaderSelector
with Logging {
this.logIdent = "[ControlledShutdownLeaderSelector]: "
def selectLeader(topicAndPartition: TopicAndPartition, currentLeaderAndIsr: LeaderAndIsr): (LeaderAndIsr, Seq[Int]) = {
val currentLeaderEpoch = currentLeaderAndIsr.leaderEpoch
val currentLeaderIsrZkPathVersion = currentLeaderAndIsr.zkVersion
val currentLeader = currentLeaderAndIsr.leader
val assignedReplicas = controllerContext.partitionReplicaAssignment(topicAndPartition)
val liveOrShuttingDownBrokerIds = controllerContext.liveOrShuttingDownBrokerIds
//筛选出live状态的replica
val liveAssignedReplicas = assignedReplicas.filter(r => liveOrShuttingDownBrokerIds.contains(r))
//筛选出live状态的isr
val newIsr = currentLeaderAndIsr.isr.filter(brokerId => !controllerContext.shuttingDownBrokerIds.contains(brokerId))
val newLeaderOpt = newIsr.headOption
newLeaderOpt match {
case Some(newLeader) =>//如果存在newLeader,选择其作为leader
debug("Partition %s : current leader = %d, new leader = %d"
.format(topicAndPartition, currentLeader, newLeader))
(LeaderAndIsr(newLeader, currentLeaderEpoch + 1, newIsr, currentLeaderIsrZkPathVersion + 1),
liveAssignedReplicas)
case None =>
throw new StateChangeFailedException(("No other replicas in ISR %s for %s besides" +
" shutting down brokers %s").format(currentLeaderAndIsr.isr.mkString(","), topicAndPartition, controllerContext.shuttingDownBrokerIds.mkString(",")))
}
}
}

浙公网安备 33010602011771号